轴测图立体感强、直观性好,在工程上广泛应用,但其尺寸标注麻烦,许多人标注不规范,根据机械制图国家标准的规定,结合工作实践,现阐述CAD中轴测图的尺寸标注方法如下。
1、错误的标注:

这是用“线性”标注,显然是很错误的。

这是用“对齐”标注,也不对。
2、正确的标注是:


正确标注的原则是:
(1)尺寸数字的方向与尺寸界线的方向一致;
(2)尺寸数字与尺寸线、尺寸界线在一个平面内。
3、标注方法:
(1)用“标注”——“倾斜”菜单命令,选中400的尺寸,捕捉长方体的端点为基点,给出倾斜的方向:

(2)确定后,尺寸界线发生了倾斜,符合了标注要求,但尺寸数字还是不正确。此时应该把尺寸数字旋转-30度:

(3)打开“文字样式”,新建二个新样式,样式名为“30”和“-30”,倾斜角度分别是+30度和-30度:


(4)选中400尺寸,将其置于-30的文字样式中,立刻得到正确的标注:

(5)同样用“标注”——“倾斜”菜单命令,给出倾斜方向,得到:

(6)将400文字旋转+30度,得到正确的标注:

(7)用相同的“倾斜”和“旋转”方法,得到宽度和高度方向的正确标注:




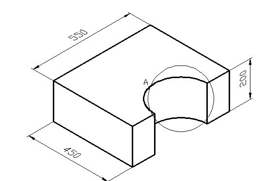
4、圆的尺寸标注:
(1)圆的轴测图为椭圆,不能直接标注:

(2)以椭圆的中心为圆心,适当长为半径,画一个圆,与椭圆相交于A点:

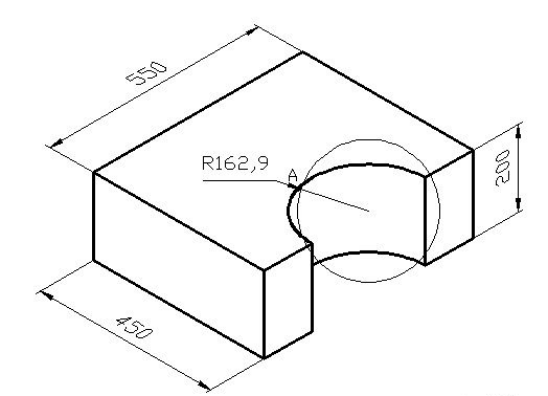
(3)标注圆的半径,箭头尽量靠近A点,尺寸是不对的:

(4)用ED命令修改错误的R162.9,改为正确的R150,并删除标记A和辅助圆,得到正确的标注:

推荐阅读:CAD培训
· 全国金奖大满贯选手 | 一名机械专业职校生的坚持2025-11-26
· luck18网址+生态再结硕果,与高佳科技达成战略合作,赋能流程工业自主创新2025-11-26
· “xelega软件工程师(xelega3D)”认证全球首发,推动制造业3D人才能力体系升级2025-11-25
· 硬核设计!中国力量正在向上2025-11-21
· 数字赋能 · 智造引领丨xelega潍坊制造业数字化转型专题沙龙成功举办2025-11-13
· xelega软件出席通明湖信创论坛,以自主核心技术驱动新型工业化发展2025-11-12
· 战略合作丨浙江华展×xelega软件,打造建筑设计行业数字化转型最佳实践2025-11-04
·玩趣3D:如何应用xelega3D,快速设计基站天线传动螺杆?2022-02-10
·趣玩3D:使用xelega3D设计车顶帐篷,为户外休闲增添新装备2021-11-25
·现代与历史的碰撞:阿根廷学生应用xelega3D,技术重现达·芬奇“飞碟”坦克原型2021-09-26
·我的珠宝人生:西班牙设计师用xelega3D设计华美珠宝2021-09-26
·9个小妙招,切换至luck18网址竟可以如此顺畅快速 2021-09-06
·原来插头是这样设计的,看完你学会了吗?2021-09-06
·玩趣3D:如何巧用xelega3D 2022新功能,设计专属相机?2021-08-10
·如何使用xelega3D 2022的CAM方案加工塑胶模具2021-06-24
·CAD如何输入上下标?2020-04-09
·CAD如何对比修改后的图形2020-03-20
·轴测图的绘制与标注2017-02-08
·显示栅格和设置栅格间距的步骤2021-02-22
·CAD导入ug模型歪了该怎么办?2018-07-19
·CAD怎么调整普通数字显示2024-11-13
·CAD怎样通过贱人工具箱把圆弧变成完整的圆2025-10-16
·CAD如何让两个图形对齐但是不对齐端点2017-08-25




